Оборудование световой сигнализации и зуммер

Вагой Т-3 оборудован внешней световой сигнализацией: габа­ритными фонарями, стоп-сигналами, сигнализацией поворота.

К внутренней сигнализации вагона Т-3 относят: световые сигналы на пульте водителя. Габаритные фонари расположены по верхней передней части правого и левого бортов вагона и на задней торцовой стенке в нижней части справа и слева. Для осве­щения используют лампочки BalSS (мощностью по 5 Вт) чехо­словацкого производства или А24-3 (мощностью по 6,8 Вт) про­изводства СССР. Включение габаритных фонарей происходит при включении низковольтного освещения выключателем на пульте водителя.

Следует заметить, что передние габаритные фонари совмещены с фонарями сигнализации поворота, а задние — с фонарем стоп- сигнала и сигнализации поворота (рис. 1).

Задний сигнальный фонарь

Рис. 1. Задний сигнальный фонарь.

Для стоп-сигналов (сигналов, включаемых при действии любого из тормозов) используют лампочки Bal5S (мощностью по 15 Вт) производства ЧССР или А24-21 (мощностью по 20 Вт) производ­ства СССР с цоколем 1 LI115. Эти же лампочки используют и для сигнализации поворота.

В качестве сигнала напряжения контактной сети применяют лампочку тлеющего разряда 94152 Bal5d. Она включается непос­редственно к напряжению контактной сети через резистор с со­противлением 1 МОм, присоединенный к проводу, идущему от предохранителя освещения.

Остальные световые сигналы, установленные на пульте во­дителя, низковольтные. Для них использованы патроны и лам­почки на 24 В Ba9S (мощностью 3 Вт) или А24-1 (мощностью 2,5 Вт). Эти лампочки подключены через рези­сторы (1 Вт, 7 Ом), ко­торые припаяны непо­средственно к проводу вблизи патрона. Назна­чение резисторов за­ключается в уменьше­нии напряжения, пода­ваемого к сигнальным лампочкам на пульте. Это увеличивает их срок службы и необходимо поскольку при выключении управления и в ряде других случаев напряжение оказы­вается значительно выше номинального (главным образом за счет токов самоиндукции вследствие высокой индуктивности ряда по­требителей низкого напряжения — особенно обмоток тормозных приводов). Сигнальные лампочки пульта расположены внутри колпачков с цветными стеклами.
Прочитать остальную часть записи »

Оборудование обогрева

Электрообогреватель. Для обогрева салона используют тепло, отходящее от пуско-тормозных реостатов. Для усиления подо­грева салона дополнительно используют 27 электронагревателей (печей) мощностью 200 Вт, напряжением 200 В. Каждый электро­обогреватель (рис. 1) состоит из изоляторов 3 и двух трубок 1, внутри которых располагается спираль из тонкого проводника с большим сопротивлением, к концам которого подключаются подводящие провода. Для соблюдения условий техники безопас­ности наружная часть электрообогревателя заземлена. Электро­обогреватели подключены к напряжению контактной сети через контакторы и предохранители двумя группами.

Одна группа электрообогревателей располагается в воздушном канале на пра­вой стороне салона и обтекается воздухом, прогоняемым венти­ляторами двигатель-генератора через ускоритель, а вторая на­ходится в тумбах сидений 2 для пассажиров с правой стороны салона вагона. Дополнительный обогрев салона включается во­дителем поворотом низковольтного переключателя РТ с правой стороны у пульта, замыкающего цепь питания обмоток контакторов ST 1 и SТ2. При повороте рукоятки переключателя с нулевой на позицию 1 включается контактор ST1, а при по­вороте рукоятки на позицию 2. вклю­чается еще контактор ST2, т. е вклю­чены обе группы электрообогревателей.

Электрообогреватель

Рис. 1. Электрообогреватель.

Калорифер. Для обогрева кабины водителя используется калорифер. Ка­лорифер представляет собой металли­ческий ящик, внутри которого распо­ложены обогревательные элементы (рис. 2). Обогревательные элементы включены последовательно по шесть штук к напряжению контактной сети и имеют две самостоятельные группы.

Нагревательные элементы калорифера и схема их включения

Рис. 2. Нагревательные элементы калорифера и схема их включения.

 

Для теплоизоляции ящик внутри оклеен асбестом. Внутрь ящика калорифера воздух поступает от вентилятора электродвигателя.

Воздух к вентилятору калорифера может поступать двумя путями, в зависимости от положения заслонки. Заслонка имеет рукоятку, расположенную слева от кресла водителя. При установке рукоятки (рис. 3) в верхнее положение заслонка распола­гается так, что воздух забирается из кабины водителя (рис. 3, а). Таким положением заслонки следует пользоваться при низкой температуре наружного воздуха (при больших морозах), так как воздух в кабине уже имеет температуру выше наружной и он может быть нагрет еще выше, чем холодный, поступающий из атмосферы.

При установке же рукоятки в нижнее положение заслонка создаст путь для воздуха, направляемого к вентилятору калорифера непосредственно из-под вагона (рис. 3, б), т. е. воздух забирается с улицы. Таким положением заслонки следует пользоваться в случаях, когда температура наружного воздуха не очень низкая и прогрев калорифером будет достаточным для создания нормальной температуры в кабине водителя. Из ящика калорифера воздух поступает через три металло-стекловолокни­стых рукава в кабину водителя — к правому и левому лобовому стеклу через специальные наконечники, которые направляют воздух широкой тонкой струей, и под ноги во­дителя к заслонке. Ру­коятка этой заслонки расположена рядом с пе­далью безопасности и имеет два положения (рис. 3, в и г) — за­крытое, когда путь воз­духа к ногам водителя перекрыт, и открытое, когда воздух может проходить к логам водителя для подогрева. В последнем случае теплый воздух поступает и в нижнюю часть кабины и к лобо­вым стеклам. В предыдущем же случае теплый воздух от калори­фера проходит только к лобовым стеклам кабины водителя (т. е. в верхнюю часть пространства кабины).

 

Рис. 3. Положение рукояток заслонок калорифера:

Положение рукояток заслонок калорифера

 

Переключатель калорифера расположен слева от кресла водителя рядом с переключателем обогрева салона. Он имеет четыре положения: нулевое — выключенное, 1-е— включен вен­тилятор, но не включен подогрев калорифера (можно использовать в жаркое время для подачи свежего воздуха в кабину водителя), 2-е — включены вентилятор калорифера и половина обогреватель­ных элементов (калорифер работает наполовину своей мощно­сти — 2,4 кВт) и 3-е — включены вентилятор калорифера и все его обогревательные элементы. В этом случае калорифер нагре­вается полностью и его мощность составляет 4,8 кВт.

Дополнительно следует обратить внимание на то, что на пути воздуха к калориферу имеется фильтр, который очищает воздух от пыли. При осмотрах для полноценной работы калорифера фильтр необходимо очищать пылесосом (или вытряхивая).

При неработающем вентиляторе калорифера обогревательные элементы включить нельзя, так как при этом очень сильно про­греваются и сами элементы и воздух внутри ящика калорифера. Для исключения возможности такого включения схемой преду­смотрено включение контактора калорифера SK только в том случае, когда работает вентилятор (т. е. электродвигатель кало­рифера). Для отключения калорифера при его перегрузках на вагонах последних выпусков служит автоматический выключа­тель калорифера.

Его действие основано на изгибании биметаллической пла­стины при повышении температуры. Для контроля положения выключателя водителем имеется сигнальный флажок, который выскакивает при отключении автоматического выключателя от перегрева биметаллической пластины. Включение такого выклю­чателя производят вручную поворотом рычага включения и вы­ключения.

Автоматический выключатель калорифера смонтирован в кар- болитовом корпусе 1 (рис. 4). Подвижной контакт 16 под дей­ствием пружины 19 прижимается своим основанием к двух­пластинчатому кронштейну 20. Сам двухпластинчатый кронштейн находится внутри полого сектора, составляющего одно целое с рукояткой 2. Пружина 19создает натяг, осуществляющий надеж­ное соединение контактов подвижного 16 с неподвижным 17. Для автоматического выключения имеется биметаллическая пла­стина,  которая при перегрузке нагревается и упирается в якорь 6 электромагнита 7, удерживаемый пружиной 8. Для регулирования уставки тока биметаллическую пластину крепят к основанию 12 и регулируют винтом 10. Сигнализирующий сра­батывание флажок 4 в свободном состоянии прижимается пру­жиной 5. Для гашения дуги при разрыве тока имеется постоянный магнит 14 с полюсами и дугогасительной камерой 15. Для под­ключения проводов имеются выводы 9 и 18.
Прочитать остальную часть записи »

Оборудование электрического освещения

Люминесцентное освещение вагона Т-3. На вагонах первых выпусков использовалась схема люминесцентного освещения (рис. 101) с реле В и последовательно включенным резистором R. Вагон имеет шесть групп ламп люминесцентного освещения (на рис. 1 показана одна группа, поскольку все группы по схеме аналогичны), включенных через балластный резистор R на напряжение контактной сети (550—600 В). Каждая группа содержит две трубки люминесцентного освещения. Все эти группы подключают через переключатель PPZ, с помощью которого можно изменять направление тока в трубках люминесцентного освещения (изменять полярность). Изменять полярность необ­ходимо, поскольку для питания используется постоянный ток (в городских цепях, где применяют переменный ток частотой 50 Гц, полярность изменяется 100 раз в секунду).

Схема люминесцентного освещения с реле

Рис. 1. Схема люминесцентного освещения с реле.

Если же по­лярность не изменять, то люминесцентные лампы сначала начи­нают светиться не полностью, оставаясь темными с одного конца, а затем вообще не светятся из-за потери эмиссии. Практически переключение полярности необходимо производить не реже чем через каждый час работы освещения. Для обеспечения порядка и возможности контроля переключение полярности обычно про­изводят на каждой конечной станции (если время проезда по маршруту в один конец не более одного часа), если движение по маршруту в один конец от одной станции до другой более часа — в дополнительных пунктах пути. Более частые переклю­чения полярности для люминесцентных ламп безвредны.

При включении освещения пере­ключателем PPZ одна из люмине­сцентных ламп замкнута контактами реле В. На другую лампу (трубку) подается повышенное напряжение, что приводит к ее зажиганию. По­скольку при этом через обмотку реле В проходит ток, то контакты реле В разомкнутся, подключив на­пряжение на вторую трубку группы. Это приводит к зажиганию второй трубки. Таким образом в каждой из шести групп сначала зажи­гается одна лампа, за­тем — обе лампы.

Поскольку контакты реле люминесцентного освещения в эксплуата­ции работали недоста­точно надежно, на ва­гонах более поздних выпусков используют схему бесконтактного зажигания. Каждая группа бесконтактного зажигания состоит из двух ламп (25 Вт,220 В).

Лампы помещены в плафонах освещения (по одной в каждом  плафоне). В одном плафоне каждой группы дополнительно размещают обмотку индуктивности, конденсатор и резистор обо­грева (рис. 2). Общий переключатель служит для включения И выключения люминесцентного освещения и для изменения полярности.

Схема люминесцентного освещения с бесконтактным включением

Рис. 2. Схема люминесцентного освещения с бесконтактным включением.

Переключатель имеет две дополнительные позиции. Подогрев — для включения обогревателя плафона в холодное время. Это необходимо, так как при низких температурах не происходит зажигания люминесцентного освещения. При установке переклю­чателя в положение Освещение напряжение с контактного провода подается на зажимы обмотки индуктивности, люми­несцентные лампы (трубки) и резистор обогрева. В этом случае напряжение оказывается недостаточным для зажигания люминес­центных ламп. Поэтому по основному контуру, т. е. через лампы люминесцентного освещения ток не проходит. Ток проходит только на заряд конденсатора. Ток заряда конденсатора проходит часть обмотки индуктивности. Обмотка индуктивности играет роль  автотрансформатора и во второй ее части наводится индуктивная ЭДС. Вторая часть обмотки имеет больше витков, чем первая, полученный при этом импульс напряжения оказывается доста­точным для зажигания люминесцентных ламп. Когда конденсатор зарядится полностью, ток заряда не проходит, а от сети течет ток, поддерживающий работу люминесцентных ламп, к которым приложено номинальное напряжение.
Прочитать остальную часть записи »

Защита от грозовых разрядов

Грозовые разряды, возникающие вблизи контактной сети, могут оказывать очень сильное влияние на электрооборудование трамвайных вагонов. Во-первых, возможны прямые удары молнии в контактный провод, что создает в нем местный потенциал в не­сколько сотен тысяч вольт; во-вторых, возможно индуктивное влияние молнии на контактный провод при помощи электростати­ческих и электромагнитных полей, создающее также местную концентрацию зарядов с потенциалом в несколько десятков тысяч вольт. После разряда молнии сконцентрированные электрические заряды стремятся разрядиться на землю с прохождением через устройства подстанции или через находящийся на участке трамвайный вагон.

Возникает движение по контактному проводу волны зарядов высокого потенциала, идущей к ближайшей подстанции и вагону. Поэтому аппаратура, машины и провода трамвайного вагона могут подвергаться воздействию грозовых разрядов, даже находясь на некотором удалении от места возникновения молний. Грозовые разряды представляют большую опасность, так как вследствие высокого потенциала может происходить пробой изоляции. Ско­рость нарастания потенциала очень велика, поэтому установка релейных устройств не обеспечивает своевременности срабатыва­ния. В связи с этим на трамвайных вагонах устанавливают спе­циальные защитные устройства от перенапряжений.

Общим принципом действия защитных устройств является от­вод волны перенапряжений в землю при помощи пробоя специально подготовленного воздушного искрового промежутка, минуя цепи вагона. Величина искрового промежутка рассчитывается так, чтобы он не оказывал влияния на работу схемы вагона даже при некотором превышении нормального напряжения контактной сети, но пробивался бы при подходе волны перенапряжений.

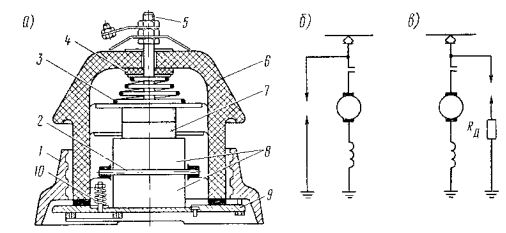
На вагонах Т-3 устанавливают вилитовый разрядник GZM0,9 (рис. 1, а), принцип действия которого основан на свойстве материала вилита изменять сопротивление в зависимости от при­ложенного напряжения. При низком напряжении его сопротив­ление велико, при повышении до определенного предела — резко уменьшается.

Вилитовый разрядник

Рис. 1. Вилитовый разрядник:

а — конструкция; б— схема разрядника с искровым промежутком; схема включения вилитового разрядника.

В разряднике два вилитовых диска соединены последовательно с искровым промежутком (рис. 1, б). Провода от разрядника соединяют — один с токоприемником, другой с рамой вагона (заземляют). При номинальном напряжении ток из-за большого сопротивления вилита через грозоразрядник не проходит. При перенапряжениях ток пробивает воздушный промежуток и сво­бодно проходит через вилит. После пропускания импульса тока напряжение снижается до номинального и вилитовые диски восстанавливают свое сопротивление. Разрядник готов к даль­нейшей эксплуатации. Разрядник может срабатывать 8—9 раз.
Прочитать остальную часть записи »

Плавкие предохранители

Вспомогательные высоковольтные цепи и цепи управления вагона защищаются от токов короткого замыкания плавкими пре­дохранителями. В основном плавкие предохранители смонтированы на щитках предохранителей, установленных в кабине водителя с правой стороны пульта управления. Плавкие предохранители цепи стрелки и общий предохранитель высоковольтных вспомо­гательных цепей (рис. 1, а) смонтированы в шкафу ускорителя. Плавкие предохранители двигателя управления, радиоусилительной установки, общий предохранитель аккумуляторной батареи располагаются в шкафу под задней площадкой у аккумуляторной батареи. Плавкий предохранитель устанавливают в цепи провода, подводящего напряжение к потребителю (двигатель-генератору, резистору стрелки, общий провод и т. д.).

Щиток плавких предохранителей

Рис.1. Щиток плавких предохранителей:

1 — изоляционное основание; 2 — предохранитель цепи двигатель-генератора (на 20А); 3 — предохранитель цепи калорифера (на 10А); 4 — предохранитель освещения салона (на 10А); 5, 6 — предохранители отопления (на 10А); 7, 18, 21 , 22 — контактные зажимы; 8, 26 — перегородки; 9 — изоляционное основание; 10 — предохранитель освещения щитка и панелей (на 6А); 11 — предохранитель аварийного освещения (на 6А); 12 — предохранитель цепи звонка (на 6А);                 13 — предохранитель целей сигнализации бара­банного тормоза и дверей (на 6А); 14 — предохранитель освещения кабины, маршрутных указателей и приборов (на 6А); 15 — предохранитель фар (на 6А): 16 — предохранитель сигнализации габаритов (на 6А); 17 — предохранитель зуммера, стоп-сигналов (на 6А): 19, 31, 33, 34 — резервные предохранители; 20 — предохранитель цепей стеклоочисти­теля сигнала поворота (на 10А); 23, 24 — предохранитель дверей (на 10А); 25 — предо­хранитель привода барабанного тормоза (40А): 27 — предохранитель управления (на 15А); 28 — предохранитель управления (на 20А); 29, 30 — предохранители рельсовых тормозов (на 20А).

При пусковых токах потребителя и при токах перегрузки предохранитель обычно не сгорает, так как его нагрев проис­ходит сравнительно медленно. При коротком замыкании ток сильно возрастает, выделение тепла увеличивается в квадратной зависимости и происходит быстрое сгорание предохранителя. По принципу гашения дуги плавкие предохранители, применяемые на вагонах «Татра», бывают закрытого и открытого типов. В за­крытых предохранителях для быстрейшего охлаждения дуги, возникающей при перегорании вставки, последняя помещается в закрытую трубку, засыпаемую мраморной крошкой, кварцевым песком или порошком магнезии. Закрытые плавкие предохранители применяются в высоковольтных цепях.

В открытых предохранителях мощность дуги, возникающей при перегорании вставки, невелика, поэтому она охлаждается и гаснет на атмосферном воздухе (рис. 1, б).

Закрытый предохранитель (рис. 2, а) представляет собой фарфоровую или фибровую трубку 1, с помещенной в нее калиб­рованной медной проволокой 2, которая и является плавкой вставкой. С торцов на трубку надевают медные облуженные кол­пачки 3. Концы проволоки-вставки припаивают к колпачкам.

Внутрь трубки помещен наполнитель, в качестве которого ис­пользуют кварцевый песок или порошок магнезии.
Прочитать остальную часть записи »

Страница 1 из 19612345102030...Последняя »
Рубрики
Последние комментарии